采购单录入

一、采购单

二、高级搜索

信息可多选

三、搜索

采购、供应商、商品可多选

四、打印

1.打印必需下载插件 2.底部信息可增减

五、下载插件

若点击打印后当前页面卡住,请刷新或关闭浏览器
注意:
1、打印前先检查打印插件是否开启,若未开启,请开启后重试
2、若没有打印插件请先下载、安装后在打印
3、若本页面下载的插件与电脑不匹配,请到官网下载其他适配版本
插件官网下载地址:http://www.lodop.net/download.html

如果安装启动后不能打印,请按下面提示进行操作
手动修改客户浏览器安全设置,在Chrome地址栏输入:
chrome://flags/#block-insecure-private-network-requests
看到底色泛黄的“Block insecure...”项的 Default 值,改选成 Disabled
然后窗口下方会出现蓝底的Relaunch按钮,点它重启浏览器

六、导出

选中信息导出,或者不选全部导出

七、列设置

可拖动一行进行排序

八、新增

2.采购日期、供应商,入库仓库必填。非必填项,若未填写则保存后自动生成4.只显示指定供应商的产品或者产品未指定供应的产品。

九、添加原材料

十、属性

最多可添加10个属性1、属性2

十一、快速生成

十二、更新

可将未填写单价和条码的属性自动填充产品的单价和条码

十三、清空

1.清空所有的产品2.序号对单个产品删减

十四、填写整数

选中后采购数量只允许填写整数。

十五、产品选择

十六、付款

十七、采购入库

数量必填,发货数量为供应商发货数

十八、通过

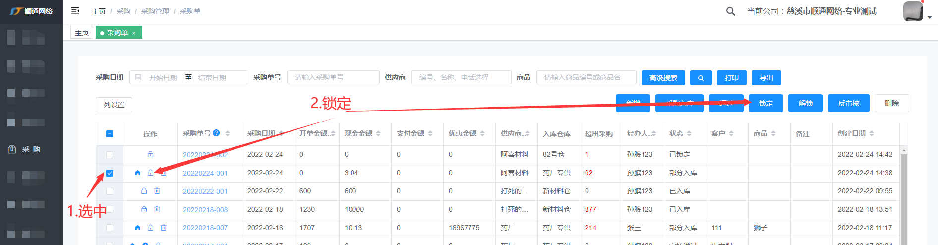
十九、锁定

注意:锁定后不可对此采购单进行任何操作

二十、解锁

注意:解锁后可对此采购单进行进行编辑、删除等操作

二十一、反审核

二十二、删除

注意:删除后不可恢复

二十三、入库

二十四、采购单号

已锁定不能编辑。点击订单号可查看详情、编辑

二十五、已入库

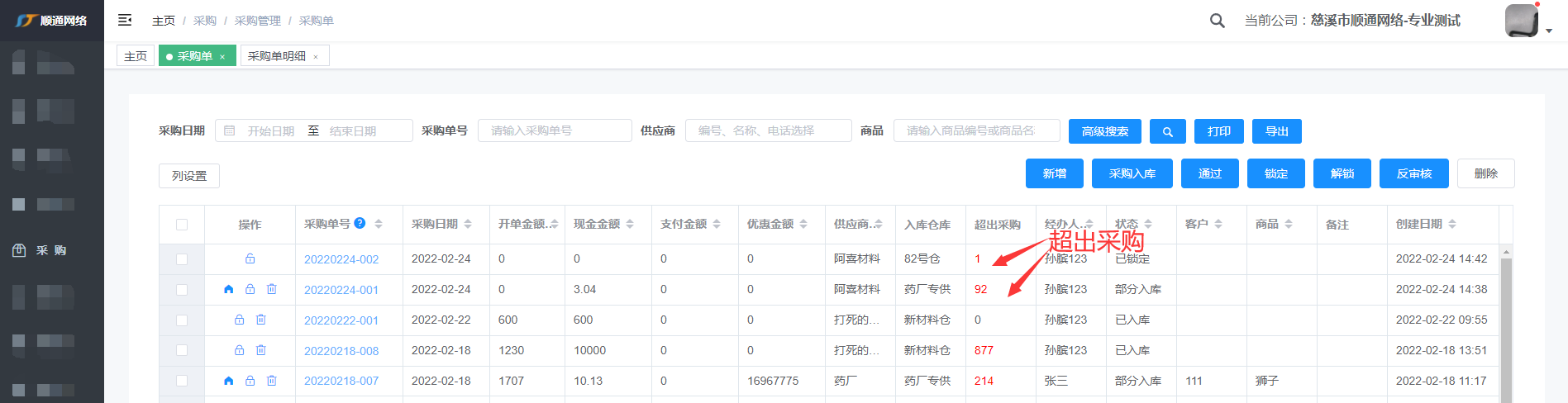
二十六、超出采购

超出采购,会显示红色