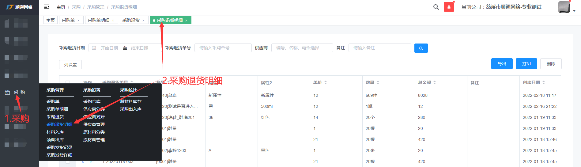
采购退货明细查询

一.采购退货明细

二、搜索

采购、供应商、备注可多选

三、列设置

可拖动一行进行排序

五、导出

选中信息导出,或者不选全部导出

六、打印

1.打印必需下载插件 2.底部信息可增减

七、下载插件

若点击打印后当前页面卡住,请刷新或关闭浏览器
注意:
1、打印前先检查打印插件是否开启,若未开启,请开启后重试
2、若没有打印插件请先下载、安装后在打印
3、若本页面下载的插件与电脑不匹配,请到官网下载其他适配版本
插件官网下载地址:http://www.lodop.net/download.html

如果安装启动后不能打印,请按下面提示进行操作
手动修改客户浏览器安全设置,在Chrome地址栏输入:
chrome://flags/#block-insecure-private-network-requests
看到底色泛黄的“Block insecure...”项的 Default 值,改选成 Disabled
然后窗口下方会出现蓝底的Relaunch按钮,点它重启浏览器

八、编辑

九、删除

注意:删除后不可恢复。