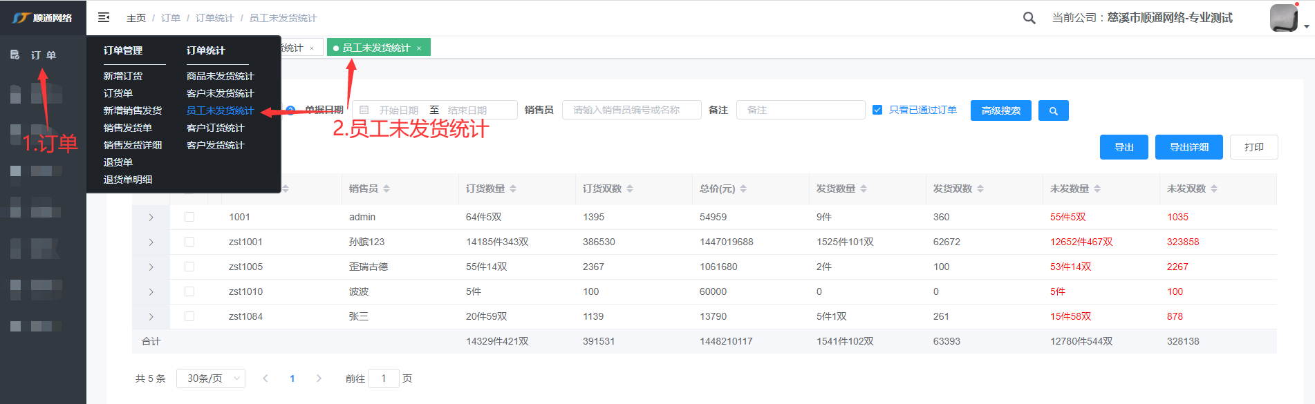
员工未发货统计

一.员工未发货统计

二、高级搜索

信息可多选

三、搜索

信息可多选

四、发货状态

已发货产品表示的是已创建的发货单的数量, 包括待完成的发货单

五、只看已通过的订单

六、列设置

1.列名:可拖动一行进行排序2.切换到详情表:点击切换到详情表可更改详情的列顺序3.点击切换到列表可更改主表的列顺序

七、详情表

八、导出

选中信息导出,或者不选全部导出

九、导出详细

十、打印

1.打印必需下载插件 2.底部信息可增减

十一、下载插件

若点击打印后当前页面卡住,请刷新或关闭浏览器
注意:
1、打印前先检查打印插件是否开启,若未开启,请开启后重试
2、若没有打印插件请先下载、安装后在打印
3、若本页面下载的插件与电脑不匹配,请到官网下载其他适配版本
插件官网下载地址:http://www.lodop.net/download.html

如果安装启动后不能打印,请按下面提示进行操作
手动修改客户浏览器安全设置,在Chrome地址栏输入:
chrome://flags/#block-insecure-private-network-requests
看到底色泛黄的“Block insecure...”项的 Default 值,改选成 Disabled
然后窗口下方会出现蓝底的Relaunch按钮,点它重启浏览器

十二、未发数

未发货数为红色